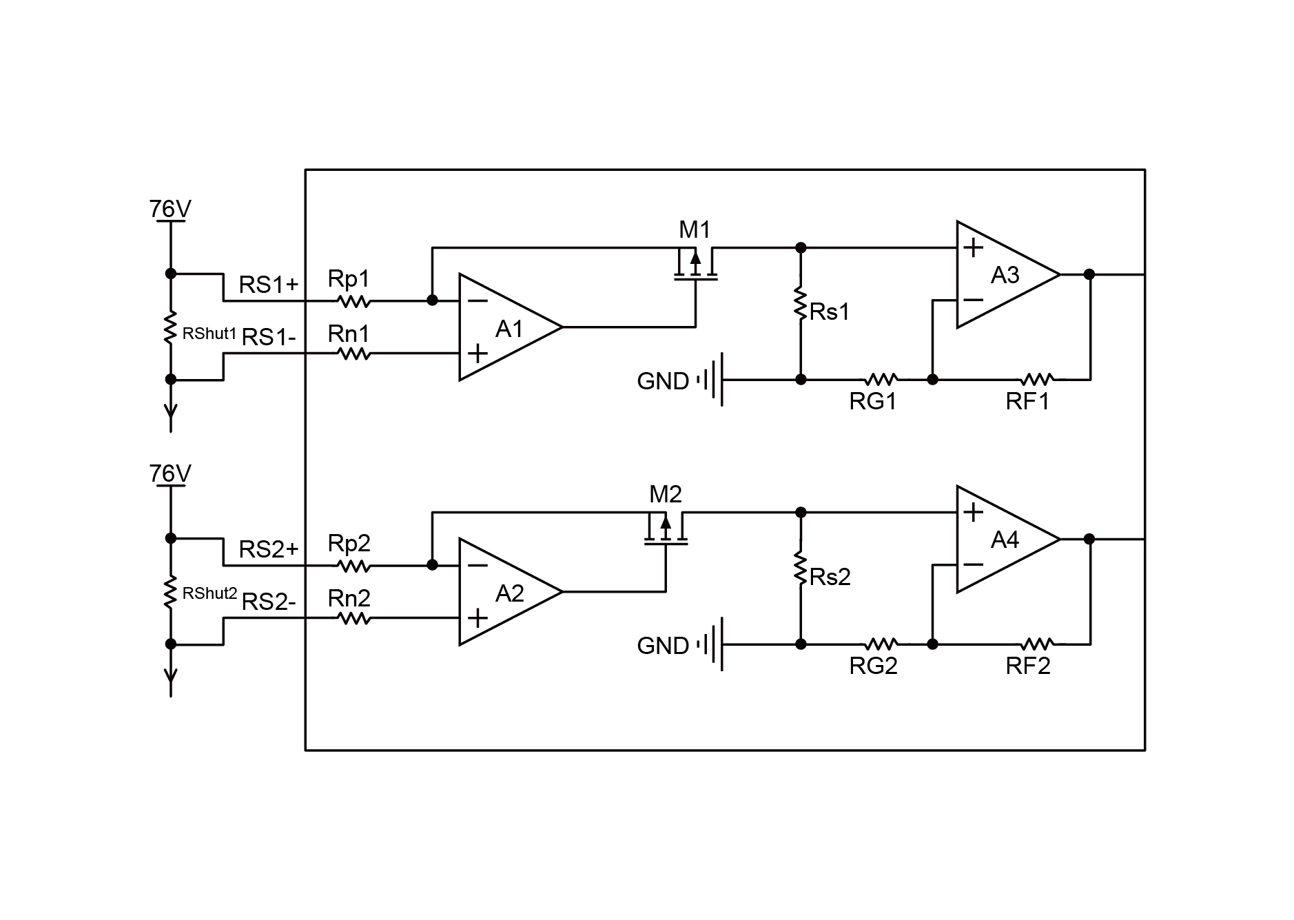
NSCSA285: Current Sense Amplifier
The NSCSA285 is a high-precise, dual channel high-side current sense amplifier than can measure voltage drops across shunt resistors over a wide common mode range from 3 V to 76 V, independent of the supply voltage. The high-precision current measurement is achieved through a combination of low offset voltage (±12 µV max), small gain error (0.05%, typical) and a high DC CMRR (140 dB, typical).The NSCSA285 features a small signal bandwidth of up to 90kHz and excellent AC CMRR performance up to 91dB at 10kHz.
Product Features
• Supply Voltage: 3V to 5.5V
• Wide Common-Mode Range: 3V to 76V
• Excellent CMRR:
140-dB DC CMRR
91-dB AC CMRR at 10 kHz
• Accuracy:
Gain Error: 0.05% (Typical)
• Offset Voltage: ±12 μV (Max)
• Gain Options:
NSCSA285A1: 12.5 V/V
NSCSA285A2: 20 V/V
NSCSA285A3: 50 V/V
NSCSA285A4: 100 V/V
• Bandwidth: 90kHz
• Low Power Consumption: 600μA (Typical)
• Operation Temperature: -40°C to +125°
Application
• Base stations and communication equipment
• Server backplanes
• Energy management
• Industrial control and automation
Functional Block Diagram


For more product information, please contact us.